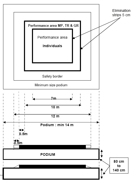
A. PODIUM
The podium on which the competition takes place is 80 cm to 140 cm high and closed off at the rear with a background. The podium is no less than 14 m x 14 m in size.
B. COMPETITION FLOOR AND COMPETITION AREA
The competition floor must be 12m x12m. It must have a clearly marked competition area of 7m x 7m for Individuals, and 10m x 10m for Mixed Pairs, Trios and Groups. The marking tape must be black and of 5 cm width. This black tape is included within the measurements of the competition area. The competition floor must conform to the FIG Apparatus Norms and must be approved by the FIG. Only floors with an FIG Certificate can be used at competitions
C. SEATING
The Artistic, Execution, and Difficulty Judges are seated directly in front of the Podium. The Line Judges are seated diagonally at the corners. The Superior Jury, the Chair of Judges Panel and the Time judges are seated on a podium immediately behind the Artistic, Execution and Difficulty Judges.
D. RESTRICTIONS
Competitors, coaches and all unauthorised persons are restricted from entering the waiting area during competition, except when called by an official of the OC or the FIG.
Coaches have to remain in the Waiting Area while their competitors are competing.
Coaches, competitors and all unauthorised persons are restricted from entering the judging area. Disregard of these restrictions may lead to the disqualification of the competitor by the Chair of Judges Panel.
Coaches have to remain in the Waiting Area while their competitors are competing.
Coaches, competitors and all unauthorised persons are restricted from entering the judging area. Disregard of these restrictions may lead to the disqualification of the competitor by the Chair of Judges Panel.






